武芯烧录器支持瑞萨RENESAS R8C/11系列
发布时间:2025-12-18 17:56:19
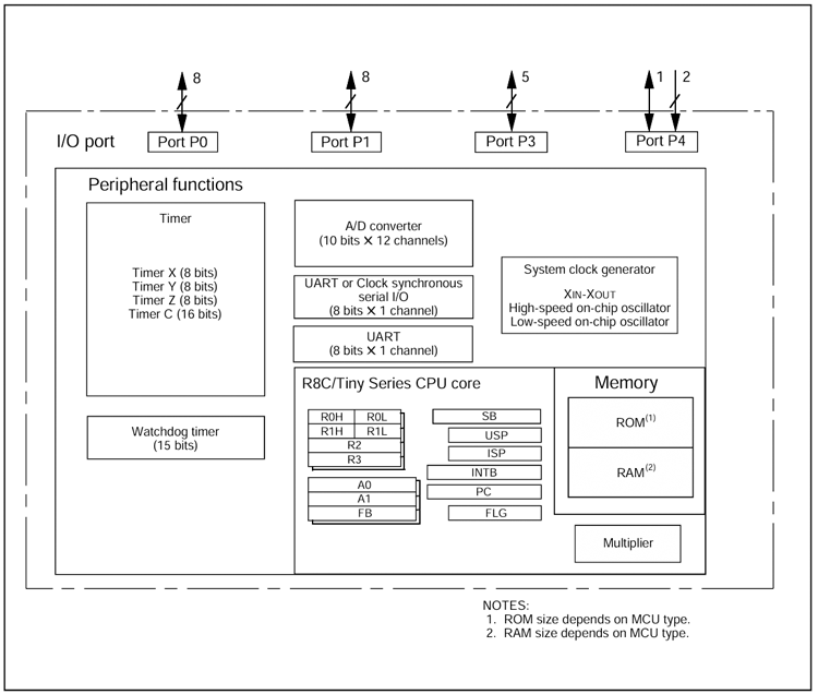
瑞萨R8C/Tiny系列是一款专为小型化应用设计的高性能16位微控制器。其中,R8C/11群是采用高性能硅栅CMOS工艺制造、搭载R8C/Tiny系列CPU内核,采用32引脚塑封LQFP封装形式。可通过复杂指令运行,具有较高的指令效率。配备1MB字节的地址空间和高速执行指令的能力,高效保证各类运算任务的性能输出。且凭借稳定的性能及低成本控制,适配多种工作环境。作为一款面向通用场景的MCU,它不仅延续了R8C系列的高稳定性与低功耗的特性,还集成LED驱动接口、计时器、多功能定时器、电压检测电路、UART串口等多种外围功能模块,广泛应用家用电器设备、办公设备、住宅传感器设备与安防系统、一般工业、音响等场景中。
CPU:1M字节地址空间、89条基本指令;
端口:输入/输出22个,LED驱动用输入/输出端口8个;
定时器:定时器X(8位)、定时器Y(8位)、定时器Z(8位)、定时器C(16位);
接口:UART或者时钟同步串行I/O、UART、A/D转换器(10位x12个通道);
中断:内部11个中断源、外部5个中断源、软件4个中断源;
时钟发生电路:XIN时钟生成电路、内部振荡器(高速、低速)、时钟振荡停止检测;
包含:电压电路检测、上电复位;
工作环境温度:-20℃~85℃、-40℃~85℃(D版);
封装:32管脚塑模LQFP;

内部框图
武芯科技作为通用型芯片烧录器制造商,专注于IC烧录、测试领域。在持续优化更新烧录软件的同时,也在积极扩充和兼容各大厂商的芯片型号的烧录。ET9800烧录器支持一拖八烧录,同时提供联机、脱机等工作模式,可全方位满足瑞萨R8C/Tiny全系列芯片的裸片离线烧录与在板烧录的量产需求。

ET9800是一款支持联机、脱机的量产型高速烧录器。采用高性能ARM+FPGA的硬件架构设计,编程带宽高达1.6Gb/s;内置128GB eMMC母头模块,能高效提升eMMC母片拷贝的量产效率;配备4.3英寸LCD触摸屏,优化脱机操作的交互体验;支持“一拖八”并行烧录,可实现复杂多样的烧录需求;且设备集成多种丰富接口,涵盖100/1000M以太网、SD卡、USB2.0 Device、RS-232串口、电源开关及接地端子等,灵活适配多元应用场景。同时提供上位机与下位机软件,支持自动化场景定制,适配智能化产线需求;支持各大厂商各种封装的MCU、eMMC、SPI、Nor/Nand flash、Parallel Nor/Nand flash、EEPROM及DSP等类型芯片编程烧录,为客户提供创新的多场景芯片(IC)烧录解决方案。