武芯烧录器支持瑞萨RENESAS RX23T系列
发布时间:2026-01-23 16:05:51
瑞萨RX23T系列是一款专为单逆变器控制而精心打造的32位微控制器。搭载瑞萨RXv2 CPU核心,软件待机模式(保留 RAM)下的电流消耗仅为 0.45μA,适配多种供电环境。且内置了浮点运算单元(FPU),在40MHz的工作主频下能够提供高达65.6 DMIPS的运算能力,可轻松编程复杂的逆变器控制算法,大大减少软件开发和维护所需的工时。
其中,RX23T系列集成了专为电机驱动优化的外设功能,12位A/D转换器,配备了三个采样保持电路和两个数据寄存器,确保了在多通道信号采集时的高速与同步性,并辅以比较器实现快速保护;同时,它还提供了两通道40 MHz的高分辨率三相互补PWM输出,能够独立或半桥驱动两个电机,为复杂的拓扑结构提供了灵活性。在能效表现上,它支持2.7V至5.5V的宽电压工作范围,具备出色的电源适应性。
此外,RX23T在引脚排列和软件层面与经典的RX62T系列保持了高度兼容性,便于产品间的快速迭代与升级。综合以上特性,RX23T系列广泛适用于单逆变器控制相关场景,如追求高能效的智能太阳能灌溉泵控制器、对空间和电压有特殊要求的48V 移动平台、电动自行车驱动系统、以及对控制精度和可靠性要求严苛的工业电子阀门控制器等。
主要特性:
搭载40MHz工作主频的RXv2内核
浮点运算单元(FPU)
2.7V~5.5V宽电压工作
工作温度范围:-40°C~85°C、-40°C~105°C
搭载高达128KB的程序闪存、12KB的SRAM
搭载12位、10通道A/D转换器,支持3通道同步采样/保持电路
PWM三相互补输出 × 2 通道
比较器×4通道

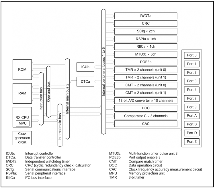
内部框图
武芯科技作为通用型芯片烧录器制造商,专注于IC烧录、测试领域。在持续优化更新烧录软件的同时,也在积极扩充和兼容各大厂商的芯片型号的烧录。ET9800烧录器支持一拖八烧录,同时提供联机、脱机等工作模式,可全方位满足瑞萨RX23T系列芯片的裸片离线烧录与在板烧录的量产需求。

ET9800是一款支持联机、脱机的量产型高速烧录器。采用高性能ARM+FPGA的硬件架构设计,编程带宽高达1.6Gb/s;内置128GB eMMC母头模块,能高效提升eMMC母片拷贝的量产效率;配备4.3英寸LCD触摸屏,优化脱机操作的交互体验;支持“一拖八”并行烧录,可实现复杂多样的烧录需求;且设备集成多种丰富接口,涵盖100/1000M以太网、SD卡、USB2.0 Device、RS-232串口、电源开关及接地端子等,灵活适配多元应用场景。同时提供上位机与下位机软件,支持自动化场景定制,适配智能化产线需求;支持各大厂商各种封装的MCU、eMMC、SPI、Nor/Nand flash、Parallel Nor/Nand flash、EEPROM及DSP等类型芯片编程烧录,为客户提供创新的多场景芯片(IC)烧录解决方案。