武芯烧录器支持NXP ARM微控制器LPC11E1x系列芯片编程烧录
发布时间:2026-03-16 16:45:07
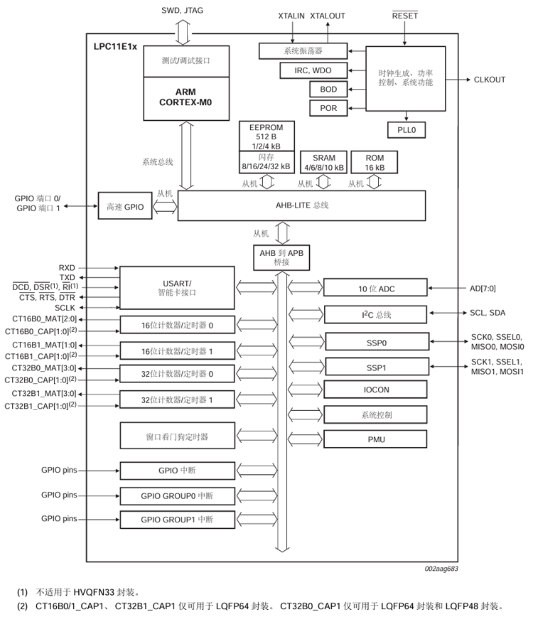
LPC11E1x 系列微控制器(MCU)是由恩智浦(NXP)推出的高性能、低功耗解决方案,基于 ARM Cortex-M0 内核构建,是一款面向广泛嵌入式应用的 32 位微控制器。该系列最高工作频率可达 50 MHz。LPC11E1x 采用精简而高效的指令集,并优化了内存寻址机制,使其在执行相同功能时所需的代码量明显小于传统的 8 位或 16 位微控制器架构。在存储资源配置方面,LPC11E1x 系列提供了高达 32 KB 的片内 Flash 程序存储器,10 KB 的 SRAM 数据存储器,4 KB 的 EEPROM 存储空间,用于存储数据和运行时处理数据。
此外,该系列MCU 集成了丰富的数字与模拟外设,以满足复杂系统的连接与控制需求。主要包括:多达54 个通用输入/输出(GPIO)引脚,支持多种工作模式配置,便于灵活应对不同电路设计需求;一个10 位模数转换器(ADC),其输入通道可在 8 个引脚间进行多路复用,适合采集电压、温度、压力等模拟信号;一个支持超快速模式的 I²C 总线接口,可实现高速、低功耗的短距离通信;一个兼容 RS-485 / EIA-485 标准的 USART 接口,支持同步通信模式与智能卡(ISO 7816)协议,适合工业现场总线、读卡器及远距离数据通信应用;两个带 SSP(同步串行端口)功能的 SPI 接口,用于连接高速外设,如无线模块、显示屏或存储芯片;四个通用计数器/定时器,支持 PWM 输出、输入捕获、脉冲计数及定时中断等功能,为电机控制、信号生成和事件计时提供可靠支持。
凭借其卓越的处理性能、低功耗特性、丰富的外设资源以及高集成度,LPC11E1x 系列广泛应用于消费类电子产品、手持式扫描设备、医疗仪器、工业自动化控制等多个领域。
主要特性
CPU: ARM Cortex-M0 处理器,工作频率高达50MHz。
存储器:最高32KB闪存、10KB SRAM、4KB 片内EEPROM数据存储器
数字外设:可编辑窗口化看门狗定时器(WWDT)、部低功率看门狗振荡器 (WDO)、四个通用计数器/定时器、多达54个通用I/O (GPIO)引脚
模拟外设:10 位ADC,输入在8个引脚中多路复用
串行接口:USART、两个SSP控制器、I2C 总线接口
时钟:1MHz至25MHz系统振荡器、12 MHz高频内部RC振荡器(IRC)、低功率低频看门狗振荡器(WDO)、主时钟、IRC或看门狗振荡器
四种节能模式:睡眠模式、深度睡眠模式、关机模式和深度关机模式
上电复位(POR)
掉电检测,设有4个独立的阀值可触发中断和强制复位
识别器件的唯一序列号
3.3 V 单电源(1.8V至3.6V)
温度范围−40 °C至+85 °C
提供LQFP64、LQFP48和HVQFN33封装

功能框图
武芯科技作为通用型芯片烧录器制造商,专注于IC烧录、测试领域。在持续优化更新烧录软件的同时,也在积极扩充和兼容各大厂商的芯片型号的烧录。ET9800烧录器支持一拖八烧录,同时提供联机、脱机等工作模式,可全方位满足NXP(恩智浦)LPC11E1x 系列芯片的裸片离线烧录与在板烧录的量产需求。

ET9800是一款支持联机、脱机的量产型高速烧录器。采用高性能ARM+FPGA的硬件架构设计,编程带宽高达1.6Gb/s;内置128GB eMMC母头模块,能高效提升eMMC母片拷贝的量产效率;配备4.3英寸LCD触摸屏,优化脱机操作的交互体验;支持“一拖八”并行烧录,可实现复杂多样的烧录需求;且设备集成多种丰富接口,涵盖100/1000M以太网、SD卡、USB2.0 Device、RS-232串口、电源开关及接地端子等,灵活适配多元应用场景。同时提供上位机与下位机软件,支持自动化场景定制,适配智能化产线需求;支持各大厂商各种封装的MCU、eMMC、SPI、Nor/Nand flash、Parallel Nor/Nand flash、EEPROM及DSP等类型芯片,烧写稳定、高效。为客户提供创新的多场景芯片(IC)烧录解决方案。