武芯烧录器支持德州仪器(TI)MSP430FR21xx,MSP430FR2000芯片编程烧录
发布时间:2026-02-05 09:58:48
MSP430FR2000 与 MSP430FR21xx 系列是德州仪器(TI)MSP430™ 微控制器家族中超值系列检测产品线的成员,这款超低功耗和低成本的MCU系列提供从0.5KB到4KB内存大小 的FRAM 统一存储器,并具备多种封装选项,其中包括小巧的 3mm×3mm VQFN 封装,非常适合空间受限的检测类应用。此外,其架构、FRAM 存储以及丰富的集成外设,结合多种低功耗运行模式,专门针对便携式与电池供电检测设备进行了优化,以最大限度延长电池使用寿命。对于原有基于8位设计的项目,这一系列提供了便捷的迁移路径——通过更高的外设集成度,以及 FRAM 在数据记录与低功耗方面的优势,可轻松获得更丰富的功能与更佳的性能。同时,现有基于 MSP430G2x 系列的设计也可迁移至MSP430FR2000 和 MSP430FR21xx,从而提升整体性能并充分利用 FRAM 的独特优点。
这两款系列 MCU 搭载功能强大的 16 位 RISC CPU,配合 16 位寄存器和一个 有助于获得最大编码效率的常数发生器,在保持高效运算的同时降低代码体积。内置的数控振荡器(DCO)通常可在不到 10µs的时间内将系统从低功耗模式快速唤醒至激活模式,兼顾低功耗与实时响应。其功能集能够广泛覆盖从电器电池包与电池监控、烟雾探测器到健身配件等多种应用场景。
作为 MSP 超低功耗(ULP)FRAM 微控制器平台的一部分,该系列将独特的嵌入式 FRAM与全面的超低功耗系统架构相结合,使设计人员能够在低能耗条件下实现更高性能。FRAM 技术融合了 RAM 的低功耗快速写入、灵活性及高耐久性与闪存的非易失性,为数据记录与频繁更新的应用提供了理想选择。为加速产品开发,MSP430FR2000 与 MSP430FR21x 系列由一款广泛的硬件与软件生态系统提供支持,包括参考设计与代码示例,协助用户快速开展设计。
主要特性
低电源电压范围:1.8V 至 3.6V
嵌入式微控制器:16MHz 的 16 位精简指令集、1.8V ~3.6V 的电压范围
经优化的低功耗模式(3V):工作模式(120µA/MHz)、待机(具有 VLO 的 LPM3.5:1µA)
关断 LPM4.5(34nA,未使用 SVS)
高性能模拟:8 通道 10 位模数转换器 (ADC)、增强型比较器 (eCOMP)、低功耗铁电 RAM (FRAM)
智能数字外设:具有三个捕捉/比较寄存器的 16 位计时器 (Timer_B3)、一个仅用作计数器的 16 位 RTC 计数器、16 位循环冗余校验器 (CRC)
增强型串行通信:增强型 USCI A (eUSCI_A) 支持 UART、IrDA 和 SPI
时钟系统 (CS):片上 32kHz RC 振荡器 (REFO)、带有锁频环 (FLL) 的片上 16MHz 数控振荡器 (DCO)、片上超低频 10kHz 振荡器 (VLO)、片上高频调制振荡器 (MODOSC)、
外部 32kHz 晶振 (LFXT)、可编程 MCLK 预分频器(1 至 128)、通过可编程预分频器(1、2、4 或 8)从 MCLK 获得的 SMCLK
通用输入/输出和引脚功能:16 引脚封装有 12 个 I/O、8 个中断引脚(4 个 P1 引脚和 4 个 P2 引脚)可将 MCU 从 LPM 唤醒、所有 I/O 均为电容式触控 I/O
系列成员包括:
MSP430FR2111:3.75KB 程序 FRAM,1KB RAM
MSP430FR2110:2KB 程序 FRAM,1KB RAM
MSP430FR2100:1KB 程序 FRAM,512 字节 RAM
MSP430FR2000:0.5KB 程序 FRAM,512 字节 RAM
封装选项:16 引脚:TSSOP (PW16)、24 引脚:VQFN (RLL)

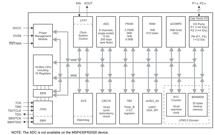
功能框图
武芯科技作为通用型芯片烧录器制造商,专注于IC烧录、测试领域。在持续优化更新烧录软件的同时,也在积极扩充和兼容各大厂商的芯片型号的烧录。ET9800烧录器支持一拖八烧录,同时提供联机、脱机等工作模式,可全方位满足德州仪器(TI)MSP430FR21xx,MSP430FR2000系列芯片的裸片离线烧录与在板烧录的量产需求。

ET9800是一款支持联机、脱机的量产型高速烧录器。采用高性能ARM+FPGA的硬件架构设计,编程带宽高达1.6Gb/s;内置128GB eMMC母头模块,能高效提升eMMC母片拷贝的量产效率;配备4.3英寸LCD触摸屏,优化脱机操作的交互体验;支持“一拖八”并行烧录,可实现复杂多样的烧录需求;且设备集成多种丰富接口,涵盖100/1000M以太网、SD卡、USB2.0 Device、RS-232串口、电源开关及接地端子等,灵活适配多元应用场景。同时提供上位机与下位机软件,支持自动化场景定制,适配智能化产线需求;支持各大厂商各种封装的MCU、eMMC、SPI、Nor/Nand flash、Parallel Nor/Nand flash、EEPROM及DSP等类型芯片编程烧录,为客户提供创新的多场景芯片(IC)烧录解决方案。