武芯烧录器支持德州仪器(TI) MSP430F261x、MSP430F241x芯片编程烧录
发布时间:2026-02-05 10:06:07
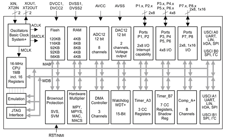
MSP430F261x、MSP430F241x作为MSP430™系列产品的成员,是德州仪器TI针对医疗成像应用的16位微控制器。MSP430™系列作为主打超低功耗的MCU,涵盖多种器件型号,各型号通过差异化的外设组合来满足不同应用场景的独特需求。该系列架构集成五种低功耗运行模式,可实现在便携式测量应用中延长电池的使用寿命。其核心采用功能强大的16位RISC CPU,配合16 位寄存器和有助于实现最高编码效率的常数发生器,在有限资源下实现高效运算。内部集成的数控振荡器 (DCO) 更拥有极速唤醒性能,能在不到 1µs 的时间内将系统从低功耗模式切换至运行模式,兼顾低功耗与实时响应。
具体到MSP430F261x和MSP430F241x系列微控制器,它们均内置16位计时器、一个高速12位ADC、一个比较器、两个12位DAC、四个USCI(通用串行通信接口)模块、DMA控制器以及多达64个I/O引脚,为医疗成像设备中的信号采集、处理与通信提供了完整的硬件支持。除未执行DAC12和DMA模块之外,MSP430F261x和MSP430F241x器件是完全一样的。此外,LQFP-64封装还可用做非磁性封装,可在对磁干扰敏感的环境中使用,其典型应用聚焦于医疗成像领域,能够在保证高性能的同时避免对精密成像设备产生磁干扰。
主要特性
低电源电压范围:1.8V 至 3.6V
超低功耗模式:
工作模式:频率为 1 MHz 且电压为 2.2V 时为 365 µA
待机模式 (VLO):0.5 µA
关断模式(RAM 保持):0.1 µA
在 1 µs 内从待机模式唤醒
16 位 RISC 架构,62.5 ns 指令周期
三通道内部 DMA(仅 MSP430F261x)
具有内部基准、采样保持和自动扫描功能的 12 位模数转换器 (ADC)
两个具有同步功能的 12 位数模转换器 (DAC)(仅 MSP430F261x)
具有三个捕捉/比较寄存器的 16 位定时器 Timer_A
具有七个捕捉/比较寄存器(包含影子寄存器)的 16 位定时器 Timer_B
片上比较器
四个通用串行通信接口 (USCI):USCI_A0 和 USCI_A1(支持自动波特率检测功能的增强型 UART、红外数据通讯 (IrDA) 编码器和解码器、同步 SPI)、USCI_B0 和 USCI_B1
(I2C、同步串行外设接口 (SPI))
具有可编程电平检测功能的电源电压监控器和监测器
欠压检测器
引导加载程序 (BSL)
串行板载编程、无需外部编程电压、通过安全保险丝实现的可编程代码保护
系列成员包括:MSP430F2416(92KB + 256 字节闪存4KB RAM)、MSP430F2417
(92KB + 256 字节闪存8KB RAM)、MSP430F2418(116KB + 256 字节闪存8KB RAM)、
MSP430F2419(120KB + 256 字节闪存4KB RAM)、MSP430F2616(92KB + 256 字节闪存4KB RAM)、MSP430F2617(92KB + 256 字节闪存8KB RAM)、MSP430F2618(116KB + 256 字节闪存8KB RAM)、MSP430F2619(120KB + 256 字节闪存4KB RAM)
封装:采用 80 引脚四方扁平封装 (LQFP)、64 引脚 LQFP 和 113 引脚球栅阵列封装 (nFBGA)

功能框图

ET9800是一款支持联机、脱机的量产型高速烧录器。采用高性能ARM+FPGA的硬件架构设计,编程带宽高达1.6Gb/s;内置128GB eMMC母头模块,能高效提升eMMC母片拷贝的量产效率;配备4.3英寸LCD触摸屏,优化脱机操作的交互体验;支持“一拖八”并行烧录,可实现复杂多样的烧录需求;且设备集成多种丰富接口,涵盖100/1000M以太网、SD卡、USB2.0 Device、RS-232串口、电源开关及接地端子等,灵活适配多元应用场景。同时提供上位机与下位机软件,支持自动化场景定制,适配智能化产线需求;支持各大厂商各种封装的MCU、eMMC、SPI、Nor/Nand flash、Parallel Nor/Nand flash、EEPROM及DSP等类型芯片编程烧录,为客户提供创新的多场景芯片(IC)烧录解决方案。