武芯烧录器支持NXP ARM微控制器LPC81xM 系列芯片编程烧录
发布时间:2026-03-16 16:57:28
LPC81xM 系列是恩智浦(NXP)推出的一款基于ARM Cortex-M0内核的低成本32位微控制器,CPU最高工作频率可达30 MHz。在存储配置方面,LPC81xM 提供最多16 KB的片内存储器,4 KB 的 SRAM 数据存储器,用作运行时变量存储和程序堆栈空间,满足小型应用的内存需求。
在外设资源方面,集成了多种实用模块包括:CRC 校验引擎、一个 I²C 总线接口、最多三个 USART 接口、最多两个 SPI 接口、多速率定时器、自唤醒定时器、状态可配置定时器、一个模拟比较器等,以支持灵活的系统设计需求。通过可配置I/O端口,允许将多个外设功能灵活分配到不同的物理引脚,可提供PCB布板的自由度与便利性。一个输入模式匹配引擎,可监测多个输入引脚的状态变化,并在满足预设条件时触发中断或事件,减轻CPU对输入的轮询负担。LPC81xM 系列凭借其精简而实用的外设组合、灵活的引脚配置以及低功耗设计,适用于消费电子、照明、电机控制、防火和安全应用场景中。
主要特性:
CPU:ARM Cortex-M0内核 ,工作频率高达30MHz
存储器:高达16KB片上闪存、4KB EEPROM
数字外设:最多18个通用输入输出(GPIO)引脚、 多通道多速率定时器(MRT)、自唤醒定时器(WKT)、CRC 引擎、窗口看门狗定时器(WWDT)
模拟外设:比较器
串行接口:三个USART 接口、 两个 SPI 控制器、 一个 I2C 总线接口
时钟生成:12MHz 内部RC振荡器、晶体振荡器、可编程看门狗振荡器、带分频器的时钟输出功能
低功耗模式:休眠模式、深度休眠模式、关机模式和深度关机模式
上电复位(POR)
掉电检测
唯一的设备序列号用于识别
单电源供电
工作温度范围 -40 °C 至 85 °C
可提供 DIP8、TSSOP16、SO20、TSSOP20 和 XSON16 封装

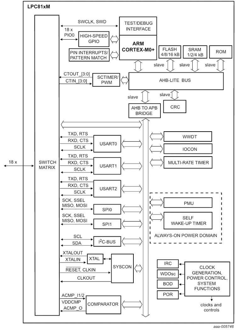
功能框图
武芯科技作为通用型芯片烧录器制造商,专注于IC烧录、测试领域。在持续优化更新烧录软件的同时,也在积极扩充和兼容各大厂商的芯片型号的烧录。ET9800烧录器支持一拖八烧录,同时提供联机、脱机等工作模式,可全方位满足NXP(恩智浦)LPC81xM 系列LPC812M101FDH20、LPC812M101FD20、LPC812M101FDH16等芯片的裸片离线烧录与在板烧录的量产需求。

ET9800是一款支持联机、脱机的量产型高速烧录器。采用高性能ARM+FPGA的硬件架构设计,编程带宽高达1.6Gb/s;内置128GB eMMC母头模块,能高效提升eMMC母片拷贝的量产效率;配备4.3英寸LCD触摸屏,优化脱机操作的交互体验;支持“一拖八”并行烧录,可实现复杂多样的烧录需求;且设备集成多种丰富接口,涵盖100/1000M以太网、SD卡、USB2.0 Device、RS-232串口、电源开关及接地端子等,灵活适配多元应用场景。同时提供上位机与下位机软件,支持自动化场景定制,适配智能化产线需求;支持各大厂商各种封装的MCU、eMMC、SPI、Nor/Nand flash、Parallel Nor/Nand flash、EEPROM及DSP等类型芯片编程烧录,为客户提供创新的多场景芯片(IC)烧录解决方案。