武芯烧录器支持NXP ARM微控制器LPC82x系列芯片编程烧录
发布时间:2026-03-23 15:09:26
LPC82x系列是NXP(恩智浦)推出的一款基于ARM Cortex-M0+内核的低成本32位微控制器,CPU工作频率可达30MHz。与LPC81x MCU系列相比,LPC82x 系列在集成度和外设功能方面均有显著提升。
在存储与系统资源方面,LPC82x 相较 LPC81x 实现了翻倍增强:提供更大容量的 Flash 和 SRAM,具体容量可根据型号配置;一个18通道DMA,并增加了更多的I2C串行接口和一个12位1.2Msps ADC,提升多外设并行通信能力。在引脚与外设配置灵活性方面,LPC82x 引入了开关矩阵(Switch Matrix)技术,允许设计人员将多个外设功能灵活映射到不同的物理引脚,从而大幅简化 PCB 布线难度,提高硬件布局的自由度。
该系列还提供三个精选外设,旨在帮助用户更平滑地完成从传统 8 位/16 位 MCU 向 32 位平台的过渡。其中一个关键外设是状态可配置定时器(SCTimer/PWM),该模块可通过软件配置生成各种复杂的定时信号或 PWM 波形,且在运行过程中无需 CPU 干预,有效释放内核资源。为简化串行通信处理,LPC82x 系列集成了可配置模式匹配引擎,可对最多 8 个输入引脚的状态进行用户自定义的布尔逻辑运算,并在满足条件时直接产生中断,从而减少 CPU 对输入信号的轮询开销。广泛适用于工业控制、汽车电子、消费电子等领域。
主要特性:
CPU:ARM Cortex-M0+内核 ,工作频率高达30MHz
存储器:高达32KB片上闪存、8KB EEPROM
数字外设:最多29个通用输入输出(GPIO)引脚、四个管脚具备大电流源输出驱动能力(20mA)、 两个真正开漏管脚具备大电流灌入驱动能力(20mA)、GPIO中断生成功能、CRC 引擎、带18条通道和9个触发器输入的DMA
定时器:状态可配置定时器(SCTimer/PWM)、四通道多速率定时器(MRT)、自唤醒定时器(WKT)、窗口看门狗定时器(WWDT)
模拟外设:一个12位ADC、比较器
串行接口:三个USART 接口、 两个 SPI 控制器、 四个I2C总线接口
时钟生成:12MHz 内部RC振荡器、晶体振荡器、可编程看门狗振荡器、带分频器的时钟输出功能
低功耗模式:休眠模式、深度休眠模式、关机模式和深度关机模式
上电复位(POR)
掉电检测
唯一的设备识别序列号
单一电源(1.8V至3.6V)
工作温度范围 -40 °C 至+105°C
可提供TSSOP20和HVQFN33 (5x5)两种封装

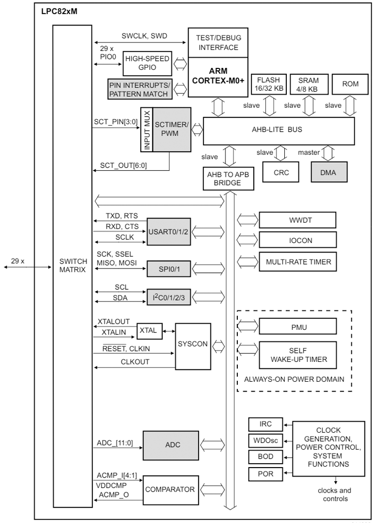
内部框图
武芯科技作为通用型芯片烧录器制造商,专注于IC烧录、测试领域。在持续优化更新烧录软件的同时,也在积极扩充和兼容各大厂商的芯片型号的烧录。ET9800烧录器支持一拖八烧录,同时提供联机、脱机等工作模式,可全方位满足NXP(恩智浦)LPC82x系列LPC824M201JDH20、LPC822M101JDH20、LPC824M201JHI33、LPC822M101JHI33芯片的裸片离线烧录与在板烧录的量产需求。

ET9800是一款支持联机、脱机的量产型高速烧录器。采用高性能ARM+FPGA的硬件架构设计,编程带宽高达1.6Gb/s;内置128GB eMMC母头模块,能高效提升eMMC母片拷贝的量产效率;配备4.3英寸LCD触摸屏,优化脱机操作的交互体验;支持“一拖八”并行烧录,可实现复杂多样的烧录需求;且设备集成多种丰富接口,涵盖100/1000M以太网、SD卡、USB2.0 Device、RS-232串口、电源开关及接地端子等,灵活适配多元应用场景。同时提供上位机与下位机软件,支持自动化场景定制,适配智能化产线需求;支持各大厂商各种封装的MCU、eMMC、SPI、Nor/Nand flash、Parallel Nor/Nand flash、EEPROM及DSP等类型芯片编程烧录,为客户提供创新的多场景芯片(IC)烧录解决方案。